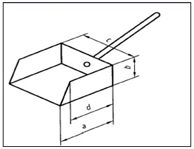
Pá de Amostragem em aço inox com cabo curto e frente reta:
	
  
	
		
			| 
				Nº da Pá | 
			
				Dimensões da Pá (mm) | 
		
	
	
		
			| 
				  | 
			
				A | 
			
				B | 
			
				C | 
			
				D | 
			
				E | 
		
		
			| 
				40 D | 
			
				220 | 
			
				160 | 
			
				220 | 
			
				200 | 
			
				200 | 
		
		
			| 
				31,5 D | 
			
				180 | 
			
				120 | 
			
				180 | 
			
				150 | 
			
				150 | 
		
		
			| 
				22,4 D | 
			
				120 | 
			
				100 | 
			
				120 | 
			
				100 | 
			
				150 | 
		
		
			| 
				10 D | 
			
				75 | 
			
				40 | 
			
				75 | 
			
				60 | 
			
				120 | 
		
		
			| 
				6,3 D | 
			
				50 | 
			
				30 | 
			
				50 | 
			
				40 | 
			
				120 | 
		
		
			| 
				2,8 D | 
			
				40 | 
			
				25 | 
			
				40 | 
			
				30 | 
			
				120 | 
		
		
			| 
				1 D | 
			
				25 | 
			
				20 | 
			
				25 | 
			
				20 | 
			
				120 | 
		
		
			| 
				0,5 D | 
			
				15 | 
			
				10 | 
			
				15 | 
			
				12 | 
			
				100 | 
		
		
			| 
				0,1 D | 
			
				10 | 
			
				6 | 
			
				10 | 
			
				8 | 
			
				100 | 
		
	
	 
	Pá de Amostragem com bico, cabo regulável de 1000mm a 1800mm com punho em polietileno.
	 
	
	
		
			| 
				Dimensões da Pá para retirada de incremento (mm) | 
		
		
			| 
				A | 
			
				B | 
			
				C | 
			
				D | 
			
				E | 
		
		
			| 
				30 | 
			
				15 | 
			
				30 | 
			
				25 | 
			
				12 | 
		
		
			| 
				40 | 
			
				25 | 
			
				40 | 
			
				30 | 
			
				15 | 
		
		
			| 
				50 | 
			
				30 | 
			
				50 | 
			
				40 | 
			
				20 | 
		
		
			| 
				60 | 
			
				35 | 
			
				60 | 
			
				50 | 
			
				25 | 
		
		
			| 
				70 | 
			
				40 | 
			
				70 | 
			
				60 | 
			
				30 | 
		
		
			| 
				80 | 
			
				45 | 
			
				80 | 
			
				70 | 
			
				35 | 
		
		
			| 
				90 | 
			
				50 | 
			
				90 | 
			
				80 | 
			
				40 | 
		
		
			| 
				100 | 
			
				65 | 
			
				100 | 
			
				80 | 
			
				50 | 
		
		
			| 
				110 | 
			
				55 | 
			
				110 | 
			
				95 | 
			
				50 | 
		
		
			| 
				150 | 
			
				75 | 
			
				150 | 
			
				130 | 
			
				65 | 
		
		
			| 
				200 | 
			
				100 | 
			
				200 | 
			
				170 | 
			
				80 | 
		
		
			| 
				250 | 
			
				110 | 
			
				250 | 
			
				220 | 
			
				100 | 
		
		
			| 
				300 | 
			
				110 | 
			
				300 | 
			
				220 | 
			
				100 |